1. Introduction
This manual provides essential information for the installation, operation, and maintenance of the SIAMP Inlet Valve-Hydraulic Brio 754T. This valve is designed for use in porcelain and plastic water tanks, suitable for both new installations and as a replacement for similar equipment. It features a hydraulic working mechanism with an anti-backflow function and is capable of supplying water with percentage compensation.
2. Safety Information
- Always shut off the main water supply before beginning any installation or maintenance.
- Wear appropriate personal protective equipment (PPE), such as gloves and eye protection, during installation.
- Ensure all connections are secure to prevent leaks.
- Do not overtighten connections, as this may damage the valve or plumbing.
- If you are unsure about any step, consult a qualified plumber.
3. Product Overview and Components
The SIAMP Inlet Valve-Hydraulic Brio 754T is a robust component designed for efficient water tank filling. It includes the main valve body, float mechanism, and connection points.

Figure 3.1: Overview of the SIAMP Inlet Valve-Hydraulic Brio 754T. This image displays the complete valve assembly, including the main body, float arm, and bottom connection point, ready for installation in a toilet cistern.
3.1. What's in the Box
- Inlet Valve-Hydraulic Brio 754T
- Nuts
- Screws
4. Setup and Installation
Follow these steps for proper installation of the inlet valve:
- Prepare the Tank: Ensure the water tank (porcelain or plastic) is clean and free of debris. If replacing an old valve, remove it completely.
- Position the Valve: Insert the SIAMP Inlet Valve into the designated hole at the bottom of the water tank.
- Secure the Valve: Use the provided nuts and screws to firmly secure the valve to the tank. Ensure a watertight seal without overtightening.
- Connect Water Supply: Connect the water source to the valve's inlet connection. This can be done with a copper or plastic coupling. The valve has a 0.5-inch inlet connection size and is designed for bottom connection.
- Adjust Water Level: The valve is adjustable. Adjust the float mechanism to achieve the desired water level in the tank.
- Check for Leaks: Slowly turn on the main water supply and check all connections for any leaks. Tighten if necessary.

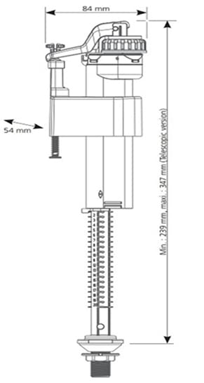
Figure 4.1: Dimensional drawing of the SIAMP Inlet Valve. This diagram illustrates the key measurements of the valve, including its length (minimum 239mm, maximum 347mm for the telescopic version), width (54mm), and top section width (84mm), crucial for fitment and installation planning.
5. Operating Instructions
The SIAMP Inlet Valve operates automatically to refill your water tank after flushing. Its hydraulic working mechanism ensures efficient and quiet operation.
- Automatic Refill: After the tank is flushed, the water level drops, causing the float to descend and open the valve, allowing water to flow in.
- Water Level Control: As the tank fills, the float rises, gradually closing the valve when the preset water level is reached.
- Anti-Backflow Function: The valve is equipped with an anti-backflow mechanism to prevent contaminated water from flowing back into the main water supply.
- Percentage Compensation: This feature ensures optimal water usage by adjusting the fill rate based on tank conditions.
- Pressure Compatibility: The valve is designed to operate effectively with water pressure ranging from 0.5 bar to 16 bar.
6. Maintenance
Regular maintenance ensures the longevity and optimal performance of your SIAMP Inlet Valve.
- Periodic Cleaning: Periodically inspect the valve for mineral deposits or debris. If necessary, shut off the water supply, remove the valve, and clean it with a soft brush and mild detergent.
- Check Connections: Annually check all connections for tightness and signs of wear.
- Inspect Float: Ensure the float moves freely and is not obstructed.
7. Troubleshooting
| Problem | Possible Cause | Solution |
|---|---|---|
| Tank not filling or filling slowly | Low water pressure, clogged inlet, obstructed float. | Check main water supply pressure. Clean the inlet filter. Ensure float moves freely. |
| Tank overfilling | Float misaligned or damaged, valve not closing completely. | Adjust or replace the float. Inspect valve for debris preventing closure. |
| Constant running water | Valve seal worn or dirty, float not rising high enough. | Clean or replace the valve seal. Adjust float level. |
8. Specifications
| Attribute | Value |
|---|---|
| Model Number | 10 0071 62 |
| Material | Acrylonitrile Butadiene Styrene (ABS) |
| Dimensions (L x W x H) | 8.4 x 5.4 x 34.7 Centimeters |
| Exterior Finish | Copper, Plastic |
| Inlet Connection Size | 0.5 Inches |
| Inlet Connection Type | Bottom Connection |
| Number of Ports | 1 |
| Specification Met | NF |
| Operating Water Pressure | 0.5 bar to 16 bar |
9. Warranty and Support
Specific warranty details for this product may vary by region and retailer. Please refer to your purchase documentation or contact your point of sale for warranty information.
For technical support or further inquiries, please contact SIAMP customer service or visit the official SIAMP website. Manufacturer details: SIAMP, SIAMP INDIA PRIVATE LIMITED.




