1. Introduction
This manual provides comprehensive instructions for the installation, operation, and maintenance of your Geberit 140300111 Exposed Cistern. Please read this manual carefully before installation and use to ensure proper function and safety. Keep this manual for future reference.

Figure 1: Geberit 140300111 Exposed Cistern. This image shows the overall appearance of the white exposed cistern with its flush mechanism visible on top.
2. Safety Information
- Always turn off the main water supply before beginning any installation or maintenance work.
- Ensure all connections are watertight to prevent leaks.
- If you are unsure about any part of the installation process, consult a qualified plumber.
- Do not use abrasive cleaners or harsh chemicals on the cistern's surface, as this may damage the finish.
3. Package Contents
Verify that all components are present before starting installation:
- Geberit 140300111 Exposed Cistern (White)
- 1/2 inch flush bend (23 x 23 cm)
- Flush pipe inner connector (diameter 44 mm/55 mm)
- Mounting hardware
4. Setup and Installation
The Geberit 140300111 cistern is designed for suspended installation and offers flexible water connection options. The water inlet can be positioned centrally, on the side, or at the rear, adapting to various bathroom layouts.
4.1. Pre-Installation Checks
- Ensure the wall is structurally sound to support the cistern.
- Confirm the location of the water supply line and waste pipe.
- Gather all necessary tools (e.g., drill, level, wrench, screwdriver).
4.2. Mounting the Cistern
- Mark the desired mounting height on the wall. Refer to the dimension diagrams for optimal positioning relative to the toilet bowl.
- Drill holes for the mounting brackets according to the provided template and secure the brackets firmly to the wall using the supplied hardware.
- Attach the cistern to the mounting brackets, ensuring it is level and securely fastened.
4.3. Water and Flush Pipe Connections
- Connect the water supply line to the cistern's inlet valve. Ensure a tight, leak-free connection.
- Connect the flush bend and inner connector to the cistern outlet and the toilet bowl inlet. Adjust the length and angle as needed.
- Once all connections are made, slowly turn on the main water supply and check for any leaks.

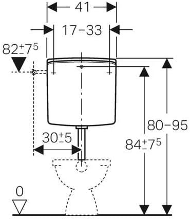
Figure 2: Front view dimensions of the Geberit 140300111 cistern, indicating height and width measurements for installation planning.

Figure 3: Top view dimensions of the Geberit 140300111 cistern, showing depth and water inlet position.

Figure 4: Side view dimensions of the Geberit 140300111 cistern, illustrating the projection from the wall and flush pipe connection.
5. Operating Instructions
The Geberit 140300111 cistern features a water-saving dual-flush mechanism.
- Full Flush: Press the larger flush button completely down for a full flush (e.g., for solid waste).
- Reduced Flush: Press the smaller flush button for a reduced flush (e.g., for liquid waste). This conserves water.
The cistern operates quietly, ensuring minimal disturbance.
6. Maintenance
Regular maintenance ensures the longevity and efficient operation of your Geberit cistern.
- Cleaning: Clean the exterior of the cistern with a soft cloth and mild, non-abrasive cleaning agents. Avoid harsh chemicals or scouring pads.
- Leak Checks: Periodically inspect all connections for signs of leaks. Address any leaks immediately to prevent water damage.
- Internal Components: If internal components require cleaning or replacement, turn off the water supply, remove the cistern lid, and follow specific instructions for the internal mechanism. Geberit spare parts are recommended for replacements.
7. Troubleshooting
Here are some common issues and their potential solutions:
| Problem | Possible Cause | Solution |
|---|---|---|
| Water continuously runs into the toilet bowl. | Faulty flush valve seal or fill valve issue. | Check and clean the flush valve seal. Adjust or replace the fill valve if necessary. |
| Cistern does not fill with water. | Water supply turned off, blocked inlet, or faulty fill valve. | Ensure water supply is on. Check for blockages in the inlet pipe. Inspect or replace the fill valve. |
| Weak or incomplete flush. | Low water level, flush valve obstruction, or flush pipe blockage. | Adjust water level in the cistern. Clear any obstructions from the flush valve or flush pipe. |
| Loud noise during filling. | High water pressure or fill valve issue. | Consider installing a pressure reducing valve. Inspect or replace the fill valve. |
If the problem persists after attempting these solutions, it is recommended to contact a qualified plumber or Geberit customer support.
8. Specifications
- Manufacturer: Geberit
- Model Number: GEB140300111
- Product Dimensions (L x W x H): 516 x 478 x 148 cm (approximately 203.1 x 188.2 x 58.3 inches)
- Weight: 3.58 kilograms (approximately 7.89 lbs)
- Number of Items: 1
- Included Components: Exposed Cistern AP low/white
- Batteries Included: No
- Batteries Required: No
- ASIN: B0017VGS1G
- First Available Date: August 15, 2012
9. Warranty and Support
For specific warranty information, please refer to the documentation provided with your purchase or contact your retailer. Geberit products are known for their quality and reliability. For technical support or inquiries regarding spare parts, please visit the official Geberit website or contact their customer service department.
Note: Spare parts availability information is not provided in the product details. Please check with Geberit directly for current availability.